Настилают пол в рубленом доме сразу после того, как сруб дал усадку. Это основание жилого помещения, которое накладывается на перекрытие или на грунт. Более простой тип полов — по грунту.

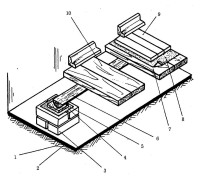
Схема устройства дощатого пола по грунту:
- 1 — уплотненный грунт основания;
- 2 — подстилающий слой из щебенки и бетона;
- 3 — кирпичный столбик;
- 4 — слой толя или рубероида;
- 5 — подкладки;
- 6 — лаги;
- 7 — дощатый пол;
- 8 — слой картона;
- 9 — паркетный пол;
- 10 — плинтус
Для устройства таких полов прежде всего необходимо уплотнить грунт основания 1. Сверху на него укладывают подстилающий слой из бетона, смешанного с щебенкой 2. Он позволяет выровнять поверхность и еще больше укрепить ее. Этот слой обязательно должен хорошо высохнуть, чтобы установленный на него следующий уровень не просел. В качестве следующего уровня используются кирпичные столбики 3 шириной в 1 кирпич. Их высота колеблется от 1 кирпича до 1,5, т. е. столбики укладываются из 2-3 уровней кирпичей. На эти столбики будет укладываться антисептированная деревянная прокладка. Но для того чтобы она не сгнила под действием влажного и холодного кирпича, под нее обязательно подкладываются несколько слоев толя или рубероида 4. Прокладка 5 чаще всего делается из древесины твердых пород и потом пропитывается в антисептическом растворе. На такую прокладку устанавливаются деревянные балки, которые еще называют лагами 6. Они располагаются на расстоянии 50-60 см друг от друга. Именно они и будут служить той основой, на которую потом будут прибиваться половые доски.
В комнате деревянные балки укладываются от окна к противоположной стене, а в коридоре от входной двери к противоположной стене. Сверху на лаги укладываются собственно половые доски 7. В их качестве лучше всего использовать доски толщиной 10 см, которые необходимо соединять между собой способом сплачивания в четверть или на вставную рейку. Сверху на этот слой досок, собственно на дощатый пол, кладется слой картона или другой прокладки 8, на который уже в свою очередь настилается паркетный пол 9. В любом случае, положите ли вы паркет или нет, пол закрепляется плинтусом 10. Полы, которые кладутся на железобетонную плиту перекрытия, имеют свои особенности. Прежде всего, они заключаются в основе. Здесь на плиту укладывается теплоизоляционный слой, на него подстилающий слой из щебенки и бетона, непосредственно на который настилается слой сложенного в несколько раз рулонного материала, например рубероида или толя. Сверху на этот слой уже устанавливаются лаги, к которым и прибиваются доски пола.
Дощатый пол
Сами доски полов настилают по направлению к двери от противолежащей стены. При этом первую доску укладывают вдоль стены, оставляя небольшой зазор для вентиляции подполья, и прикрепляют гвоздями по всей длине. Следующие 3~4 доски укладываются рядом плотно друг к другу, но не прибиваются сразу. Для их крепления сначала необходимо использовать строительные скобы, а потом гвозди.
Получить гладкий пол, который даже после многих лет останется в первозданном виде, можно получить только при одном условии: одну доску положите сердцевиной вверх, а последующую — сердцевиной вниз.
Достаточно часто бывает, что не удается достать доски для пола одной длины. Поэтому приходится что-то придумывать. Но даже из коротких досок пол может получиться не только крепким, но и красивым. Для этого отберите длинные доски и пустите их возле окна, двери и стены, противоположной входу. Сбив в определенном порядке оставшиеся короткие доски, вы получите некое подобие паркета.
Если при настилке полов вы используете половые доски с выбранной четвертью, то лучше всего вбивать гвозди не в сам массив доски, а именно в четверть. Это позволит вам сделать пол «без гвоздя», т. е. все гвозди будут спрятаны, а пол прослужит немного дольше. Кроме того, при таком способе забивания гвоздь нужно ставить к поверхности древесины под углом в 45°, чтобы крепление получилось максимально прочным.
Используя другой тип соединения, например сплачивание на вставную рейку, вам придется пробивать доску с лицевой стороны, полностью утапливая шляпку гвоздя в древесину.
Полы из древесностружечной плиты
Если у вас нет возможности купить дорогую хорошую половую доску, то ее можно заменить древесностружечной плитой, которая кладется на лаги. Для крепления такого покрытия лучше всего использовать сразу два вида: гвозди и шурупы, потому что структура плиты не позволяет прочно удержаться гвоздю в массиве. Крепление гвоздями предпочтительнее делать через каждые 25 см, а шурупами — через каждые 40 см. Так же, как и при настилке дощатых полов, здесь должен быть сохранен зазор между поверхностью пола и стеной для вентиляции подполья. Такое расстояние не должно превышать 3 см. Это допускается только возле стен. Между торцевыми сторонами плит никакого зазора быть не должно. После того как пол готов и прибиты все плинтусы, вам предстоит специальной шпаклевкой для дерева замазать все углубления, оставшиеся после гвоздей и шурупов. Затем отшлифуйте крупнозернистой шкуркой, потом мелкозернистой шкуркой и покройте несколькими слоями лака. С таким же успехом можно воспользоваться масляной, нитрокраской или постелить сверху линолеум.
Полы из древесноволокиистой плиты
В том случае, если для настилки полов были использованы доски с некрасивой лицевой поверхностью, то вы можете сверху на них постелить древесноволокнистую плиту, толщина которой не меньше 3 мм, или паркет. Каждую плиту нужно с обратной стороны смазать мастикой или столярным клеем, прижать на некоторое время к основанию пола и только потом пробить гвоздями на расстоянии 15 см по периметру. Также необходимо прибить доску в нескольких местах посередине.
После посадки на гвозди все получившиеся отверстия тщательно зашпаклевывают. Затем уже можно покрыть плиту слоем лака или краски.